Prepare For A New Century Dfd 0 Diagram

Also prepare lower level dfds for each numbered process.
Prepare for a new century dfd 0 diagram. Prepare a diagram 0 dfd for new century. A diagram showing new new century wellness group context diagram. Be sure to show numbered processes for handling appointment processing payment and insurance processing report processing and records maintenance. Be sure to show numbered processes for handling appointment processing payment and insurance processing report processing and records maintenance.
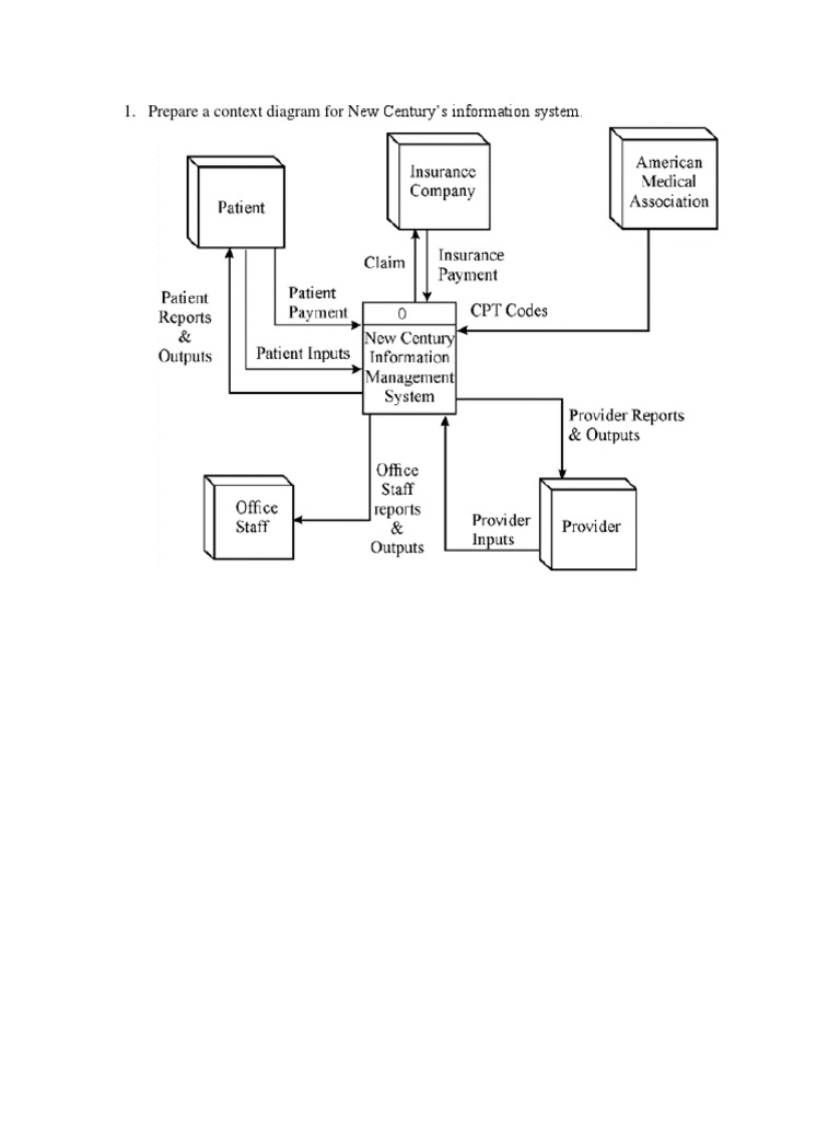
Prepare a diagram 0 dfd for new century. Prepare a context diagram for new century s information system. A data flow diagram showing new century health clinic. Prepare a context diagram for new century s information system.
Prepare a data dictionary entry and process description for one of the system s dling appointment processing payment and insurance processing report. Prepare a diagram 0 dfd for new century. Also prepare lower level dfds for each numbered process. Prepare a diagram 0 dfd for new century.
Under each data store list 4. Prepare a diagram 0 dfd for new century. شرح data flow diagram dfd كاملة context and level zero diagram duration. Prepare a list of data stores and data flows needed for the system.
Also prepare lower level dfds for each numbered process. You can edit this diagram using creately diagramming tool and include in your report presentation website. Example of a data flow diagram level 0. Student guide دليل الطالب 17 480 views.
Be sure to show numbered processes for handling appointment processing payment and insurance processing report processing and records maintenance. Prepare a context diagram for new century s information system. Be sure to show numbered processes for handling appointment processing payment and insurance processing report processing and records maintenance. Also prepare lower level dfds for each numbered process.
Also prepare lower level dfds for each numbered process. Be sure prepare a diagram 0 dfd for new century. Prepare a diagram 0 dfd for new century. Prepare a list of data.
Be sure to show numbered processes for handling appointment processing payment and insurance processing report processing and records maintenance.